igus-icon-lupe
igus-icon-lupe
1 von 2
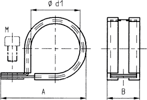
- Galvanisch verzinkter Stahl nach DIN 3016
- Halogenfreies Elastomerprofil
- Temperaturbereich: -50 °C bis +105 °C
igus-icon-lieferzeit-dotI-SGB-07
7
Diese Rohrschellen dienen zur Befestigung und sauberen Verlegung von PMA Schutzrohren im allgemeinen Maschinen- und Anlagebau. Sie eignen sich insbesondere zur Befestigung von statisch verlegten Leitungen.
