Bitte wählen Sie Ihren Lieferstandort

Die Auswahl der Länder-/Regionsseite kann verschiedene Faktoren wie Preis, Einkaufsmöglichkeiten und Produktverfügbarkeit beeinflussen.
Mein Ansprechpartner
igus® polymer Innovationen GmbH

Photo-Play-Straße 1

4860 Lenzing

+43 7662 57763
+43 7662 57751
AT(DE)

drylin® SLW Kreuztisch

drylin® SLW-XY-1040

Besondere Eigenschaften:

Low-Cost- Kreuztischlösung für Handverstellungen

schmiermittelfrei und korrosionsbeständig

maximale Hublänge bei XY-Tischen 300 mm (Baugrößen 1040/1080)

maximale Hublänge bei XY-Tischen 150 mm (Baugrößen 0630)

optional als vorgespannte Version SLWE-XY-PL verfügbar (Baugrößen 1040/1080)

Zubehör erhältlich (Handrad, Positionsanzeige…)

DryLin® SLW-XY-0630 Kreuztisch drylin® SLW-XY-0630
DryLin® SLW-XY-1080 Kreutztisch drylin® SLW-XY-1080

Zu diesen Artikeln passend:


SLW Kreuztisch


Bestellung eines kompletten Systems

Konfiguration in wenigen Schritten:

1. Auswahl der Baugröße
2. Eingabe der Hublänge in mm
3. Auswahl von Zubehörteilen

Hinweis:

Detailinformationen finden Sie unten in den Zeichnungen und Tabellen sowie auf den u.g. Seiten.

drylin® SLW - Kreuztisch - komplettes System

Schritt 1

Wählen Sie die Baugröße des Kreuztisches aus.

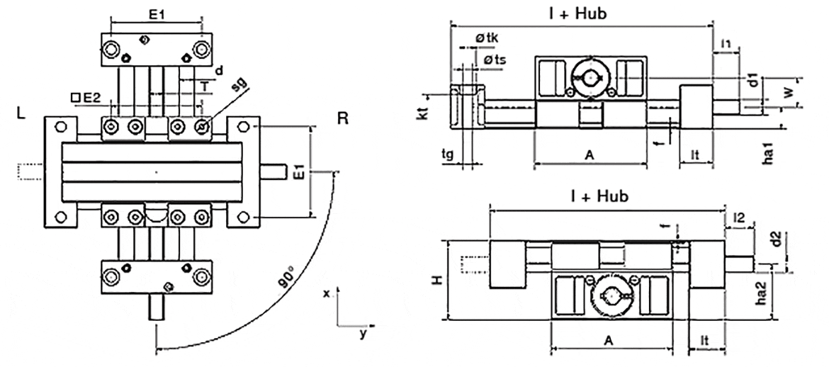
technical drawing
Baugröße:

Längen und Gewichte [mm]

Bestellnr. A
-0,3
[mm]
H

[mm]
E1
±0,15
[mm]
E2
±0,15
[mm]
Grund-
länge lx
[mm]
Grund-
länge ly
[mm]
f

[mm]
lt

[mm]
tk
±0,1
[mm]
ts

[mm]
tg

kt

[mm]
in 3-4 Werktagen versandfertig SLW-XY-0630 54 38 40 45 94 94 1,5 20 9 7 - 6
in 3-4 Werktagen versandfertig SLW-XY-0660 85 38 71 76 125 125 1,5 20 11 6,6 - 8
in 3-4 Werktagen versandfertig SLW-XY-1040 74 48 60 60 117 117 1,5 22 11 6,8 M8 6,4
in 10 Werktagen versandfertig SLW-XY-1040-PL (1) 74 48 60 60 117 117 1,5 22 11 6,8 M8 6,4
in 10 Werktagen versandfertig SLW-XY-1080 108 48 94 94 151 151 1,5 22 11 6,8 M8 6,4
in 10 Werktagen versandfertig SLW-XY-1080-PL (1) 108 48 94 94 151 151 1,5 22 11 6,8 M8 6,4
in 3-4 Werktagen versandfertig SLW-XY-1660 104 72,5 84 86 154 154 1,5 25 15 9 M10 8,6
in 10 Werktagen versandfertig SLW-XY-2080 134 82 116 116 190 190 1,5 28 15 8,6 M10 8,6
Mehr zum gewünschten Artikel:
3D-CAD 3D-CAD
Musterbestellung Musterbestellung
PDF PDF
Preisanfrage Preisanfrage
myCatalog myCatalog

(1) Preload

Abmessungen [mm]

Bestellnr. sg


d

[mm]
T

l1

[mm]
d1
Standard
d1
alternativ
l2

[mm]
d2
Standard
d2
alternativ
ha1

[mm]
ha2

[mm]
W
ha2-ha1
[mm]
in 3-4 Werktagen versandfertig SLW-XY-0630 M4 5 M8 15 M8 M8 15 M8 9,5 28,5 18,4
in 3-4 Werktagen versandfertig SLW-XY-0660 M4 5 Tr08x1.5 15 Tr08x1.5 15 - 9,5 28,5 19
in 3-4 Werktagen versandfertig SLW-XY-1040 M6 10 TR10x2 17 TR10x2 Tr10x2 17 6h9 14,5 33,5 19
in 10 Werktagen versandfertig SLW-XY-1040-PL (1) M6 10 TR10x2 17 TR10x2 Tr10x2 17 6h9 14,5 33,5 19
in 10 Werktagen versandfertig SLW-XY-1080 M6 10 TR10x2 17 TR10x2 Tr10x2 17 6h9 14,5 33,5 19
in 10 Werktagen versandfertig SLW-XY-1080-PL (1) M6 10 TR10x2 17 TR10x2 Tr10x2 17 6h9 14,5 33,5 19
in 3-4 Werktagen versandfertig SLW-XY-1660 M8 16 TR14x4 20 TR14x4 8h9 20 8h9 8h9 18,5 54 35,5
in 10 Werktagen versandfertig SLW-XY-2080 M8 20 TR18x4 26 12h9 26 12h9 23 59 36
Mehr zum gewünschten Artikel:
3D-CAD 3D-CAD
Musterbestellung Musterbestellung
PDF PDF
Preisanfrage Preisanfrage
myCatalog myCatalog

SLW-XY-0630 mit quadratischer Welle
(1) Preload

Das Handrad der y-Achse kann links oder rechts montiert bestellt werden.
Links: SLW-XY-0630-AWM-L-200-300 für 200 mm Hublänge in x-Richtung und 300 mm in y-Richtung.
rechts: SLW-XY-0630-AWM-R-200-300 für 200 mm Hublänge in x-Richtung und 300 mm in y-Richtung

Zu diesen Artikeln passend:


in 3-4 Werktagen versandfertig
in 10 Werktagen versandfertig